
Now that the new Porsche 911 is revealed in coupe form and we’ve seen it enough, the convertible version comes into focus. And the big news is it might come with folding metal roof.
It is just a speculation mind you, based on the recent spyhots which have revealed a weird kind of canvas roof in action. The Internet believes that soft top is just a cover for the folding hardtop underneath it. Another idea suggests the production model will get the canvas cover, so fans of the 911 Cabriolet still get the look they want, plus the advantages of a hardtop.
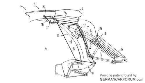
Some leaked patents pretty much confirm this idea and show how both the canvas and folding hardtop work.
Frankfurt Motor Show will reveal more facts about this, so stay tuned.










